Zámek visací EVVA G222

Kód zboží: ZV G222
Zámek visací EVVA, třmen/oko: Ø 8 mm, velikost: 48 mm
Poradíme Vám
Jsme Vám k dispozici
Po-Pá od 8:00 do 16:00

Zámek visací EVVA (GUARD) G222

  • Mosazný (poniklovaný) visací zámek s ocelovým třmenem (Ø 8 mm).
  • Překrytý profil klíče a blokovací kolíky chrání zámek proti vyhmatání.
  • Niklovaná stavítka zajišťují dlouhou životnost uzamykacího mechanismu.
  • Požární odolnost T30.
  • 3x prodloužený klíč (Guard) a bezpečnostní karta je součástí balení.
  • Visací zámek šedé barvy.

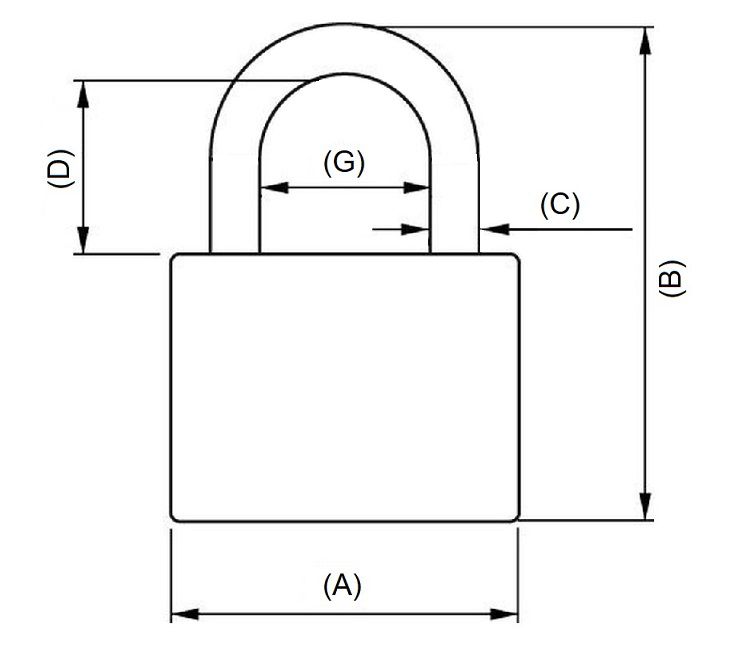
TECHNICKÉ PARAMETRY ZÁMKU

  • Třmen/oko: Ø 8 mm.
  • Šířka těla zámku: 48 mm.
  • Hloubka těla zámku: 8 mm.
  • Průměr oka: 30 mm.
  • Šířka oka - vnitřní rozměr: 24 mm.
  • Výška oka - vnitřní rozměr: 30 mm.